Sony patenteert PS5 backwards compatibility via de cloud
Stream je PS3-games naar je PS4.
Sony heeft begin juli een patent vastgelegd op een technologie die backwards compatibility toelaat op de PS5 via cloud streaming.
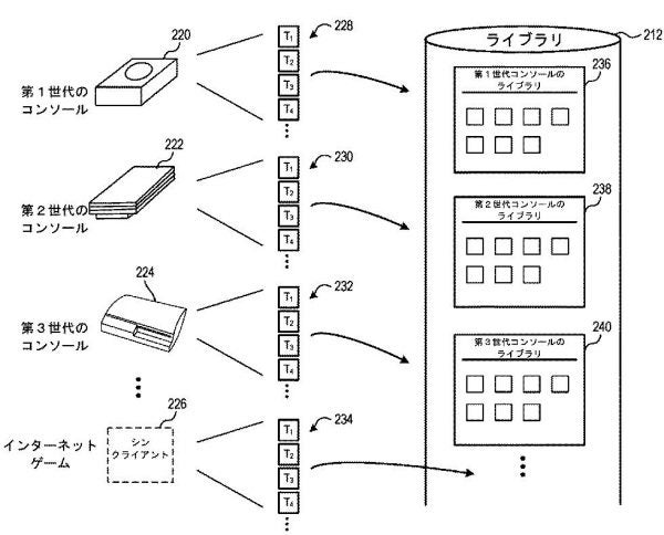
De omschrijving van het patent vertelt hoe Sony mogelijk servers op afstand wil configureren om bepaalde consoles, zoals de PS2 en PS3, te emuleren. Games zouden dan op die servers draaien, waarna de beelden naar je PS5 worden gestreamd.
Zo zou het mogelijk zijn om via de cloud je oude games alsnog te spelen op de PS5 of toekomstige PlayStation-platformen. De PS1, PS2 en PS3 worden expliciet vermeld. De PS5 is al backwards compatible met de meeste PS4-games, dus daar zou geen oplossing via de cloud voor nodig zijn.
Kleine kanttekening: het vastleggen van een patent wil nog niet zeggen dat Sony deze methode effectief zal gebruiken. Bedrijven leggen heel vaak patenten vast als ze ideeën hebben die gebruik maken van een specifieke technologie. Het betekent echter niet dat ze die technologie ook daadwerkelijk zullen inzetten.
Ook kan het nog jaren duren voordat de technologie op punt staat om gebruikt te worden door het grote publiek, en het weerhoudt de concurrentie er ook niet van om eveneens backwards compatibility via cloud streaming te ontwikkelen. De concurrentie zou echter een methode moeten gebruiken die licht afwijkt van Sony's patent.
Meer weten over de PS5?
- PlayStation 5 release - Alles over de PS5 kopen en de PS5 prijs uitgelegd
- PlayStation 5 DualSense - Alles over de nieuwe PS5 controller
- PlayStation 5 games - Bevestigde en verwachte PS5 games en backwards compatibility uitgelegd
- PlayStation 5 specs - hoe krachtig zijn de CPU en GPU van de PS5
- PlayStation 5 design - de grootte, poorten en PS5 Digital Edition uitgelegd